Engranajes síncronos: piezas, funcionamiento, diagrama, ventajas, aplicación

¿Te has preguntado alguna vez cómo funcionan los engranajes síncronos? Estas piezas mecánicas son fundamentales en numerosos dispositivos y maquinarias, ya que permiten transmitir el movimiento de forma precisa y eficiente. En este artículo descubriremos todo lo que necesitas saber sobre los engranajes síncronos, desde sus componentes y funcionamiento hasta sus ventajas y aplicaciones en diferentes ámbitos industriales. Además, te mostraremos un diagrama que te ayudará a comprender mejor cómo interactúan estas piezas para lograr un movimiento sincronizado. ¡No te lo pierdas!

Transmisión síncrona

Este tipo de caja de cambios es similar al tipo de engranaje constante en que todos los engranajes del eje principal engranan constantemente entre sí. los engranajes correspondientes en el contraeje. Los engranajes del contraeje están unidos a él, mientras que los engranajes del eje principal pueden girar libremente sobre él. El funcionamiento también es similar al del tipo malla constante, aunque hay una mejora significativa en el primero respecto al segundo. Esto implica la provisión de un dispositivo de sincronización que evita la necesidad de un doble embrague. Las piezas que finalmente deben engranarse se ponen en contacto por fricción, con lo que se iguala su velocidad. Luego se pueden involucrar suavemente.

La razón de esto es que es preferible una transmisión síncrona a una transmisión de malla constante.

1) No hay necesidad de embrague intermedio como en una transmisión de malla constante.
2) Engranaje suave de marchas superiores gracias al dispositivo de sincronización.
3) Menos ruido debido al uso de engranajes helicoidales.
4) Menos vibración.
La ilustración muestra la estructura y funcionalidad de una transmisión síncrona. Sin embargo, en la mayoría de los vehículos, los dispositivos sincronizadores no están instalados en todas las marchas, como se muestra en esta ilustración. Sólo se instalan en las marchas altas y sólo se proporcionan embragues de garras normales en las marchas baja y marcha atrás. Esto se hace para reducir costos.
Engranajes síncronos: piezas, funcionamiento, diagrama, ventajas, aplicaciónEngranajes síncronos: piezas, funcionamiento, diagrama, ventajas, aplicación
El engranaje síncrono funciona.

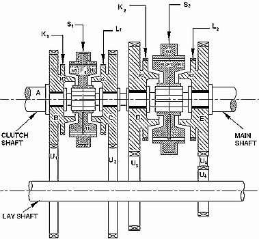
En la imagen de arriba puedes ver el eje del motor y los engranajes. B, C, D, E están libres en el eje principal y siempre están engranados con los engranajes correspondientes en el contraeje. Por lo tanto, todos los engranajes tanto del eje principal como del contraeje continúan girando mientras el eje A esté girando. Reparador F1 Y F2 Puede deslizarse libremente sobre los chaveteros del eje principal. G1 Y G2 Son elementos en forma de anillo con dientes internos que encajan en los elementos dentados externos. F1 Y F2 respectivamente. K1 Y K2 tiene dientes de perro b Y D o estos también encajan en los dientes de G1 Y G2. T1Y T2 son los tenedores. T1Y T2 es la bola sostenida por plumas. Estos tienden a evitar que los elementos se deslicen. G1 (G2) En F1 (F2).pero cuando se aplicó la fuerza G1 (G2)
a través del tenedor T1 (T2) Si el valor excede un cierto valor, las bolas son superadas y llevadas. G1 (G2) se desliza sobre F1
(F2). Normalmente seis de estas bolas están dispuestas simétricamente alrededor del perímetro en un dispositivo de sincronización.
M1, M2,
N1, N2,
P1, P2,
R1, R2

son las superficies de fricción.
El funcionamiento de la transmisión es el siguiente: para engranaje directo, miembro G1 y por lo tanto miembro F1 (mediante bolas accionadas por resorte) se empuja hacia la izquierda hasta que llegue M1 Y M2 La fricción y la fricción igualan su velocidad. Empujar al miembro más G1
a la izquierda hace que anule las bolas y se enfrente a los perros K1. El accionamiento del eje principal ahora proviene directamente de b arriba F1 y las estrías. Debemos dejar suficiente tiempo para que las velocidades se sincronicen, de lo contrario pueden producirse colisiones. Para el segundo curso, los miembros F1 Y G1 se empujan hacia la derecha para que los dientes internos finalmente entren en contacto G1 están ocupados con eso L1.luego se produce el accionamiento al eje principal b arriba U1, U2, C, F1, y splines. Para el primer curso G2 Y F2 se desplazan hacia la derecha. En este caso el conductor proviene de b arriba U1, U3, D, F2, y estrías al eje principal.
Para marcha atrás G2 Y F2 son empujados hacia la derecha. En este caso el conductor proviene de b arriba, U1, U4, U5, D, F2 están engranados al eje principal.

Explicar la estructura y funcionalidad de la transmisión síncrona.

Estructura del engranaje síncrono:

Consta de eje de embrague, contraeje, eje principal y sincronizador. Los engranajes del contraeje están fijados rígidamente, mientras que los engranajes del eje principal pueden girar libremente en el eje principal dependiendo de la velocidad del contraeje. Se utiliza un dispositivo síncrono entre dos engranajes del eje principal para compensar la velocidad por fricción y luego poder engranarlos suavemente.
A es el eje del motor con el engranaje del embrague B girando a la velocidad del motor, los engranajes B, C, D, E están en el eje principal y los engranajes U1, U2, U3 y U4 son los engranajes del contraeje. U5 es el corredor intermedio. F1 y F2 son los elementos sincronizadores que pueden deslizarse libremente sobre el eje principal, que tiene engranajes internos.
G1 y G2 son los elementos en forma de anillo con dientes internos que encajan en los dientes externos de los elementos F1 y F2, K1 y K2, L1 y L2 son dientes de garra en el engranaje B, C, D, E, T1 y T2 son los Elementos de rodamiento de bolas hasta la primavera. S1 y S2 son las bifurcaciones.
Engranajes síncronos: piezas, funcionamiento, diagrama, ventajas, aplicaciónEngranajes síncronos: piezas, funcionamiento, diagrama, ventajas, aplicación
Diagrama de transmisión síncrona

Cómo funciona el engranaje síncrono:

Para lograr una marcha baja, el elemento F2 se mueve hacia la izquierda, lo que crea el contacto de fricción entre la superficie cónica del engranaje D y el elemento F2. Debido a la fricción o rozamiento, la velocidad se iguala, luego el elemento G2 se mueve hacia la izquierda para engranar con los dientes K2 y se logra una marcha baja. De manera similar, cuando el elemento F2 se desliza hacia la derecha y engrana con el engranaje E, se obtiene la marcha atrás. De manera similar, para la segunda marcha, los elementos F1 y G1 se desplazan hacia la derecha, de modo que finalmente los dientes internos de G1 entran en engrane con L1 y luego el accionamiento al eje principal del engranaje B – U1 – U2 – engranaje C – G1 – F1 a Estriado. Se obtiene un paseo directo moviendo el enlace F1 hacia la izquierda.

Sincronizador de aplicaciones para evitar dobles embragues

El objetivo principal de esta unidad es sincronizar la velocidad de las dos marchas antes del enganche. Sabemos que en un vehículo en movimiento, presionamos el embrague y ponemos la marcha en punto muerto hasta que la marcha gira. No todas las marchas giran a la misma velocidad, y cuando necesitamos usar la palanca de cambios para seleccionar dos marchas a diferentes velocidades, se escuchará un ruido debido a la colisión de las marchas, y es muy difícil girar las marchas y apagado. Para evitar estos problemas se utilizan dispositivos de sincronización. Los sincronizadores no están instalados en todas las marchas. Sólo se instalan en las marchas más altas.
Durante la sincronización, el manguito sincronizador se mueve hacia la marcha seleccionada, empujando el anillo de bloqueo hacia la derecha. El anillo hace contacto con el hombro del engranaje impulsado y comienza a sincronizar la velocidad de las dos partes. De este modo se produce el accionamiento desde los engranajes del contraeje al engranaje del eje principal y luego, a través de un dispositivo de sincronización, al eje principal.
Engranajes síncronos: piezas, funcionamiento, diagrama, ventajas, aplicaciónEngranajes síncronos: piezas, funcionamiento, diagrama, ventajas, aplicación
Función del sincronizador

Método para lubricar un engranaje síncrono.

Sistema de lubricación por salpicadura

El sistema de lubricación por salpicadura es fácil de fabricar e implementar en la transmisión síncrona. Las revoluciones del engranaje del contraeje rocían lubricante desde el sumidero para asegurar una lubricación adecuada de los engranajes del eje principal, el sincronizador, la horquilla de cambio y los componentes del cojinete del eje principal, el contraeje y el eje del embrague. El lubricante se introduce en la carcasa de la caja de cambios en forma de gotas o una fina niebla contra la gravedad.
Engranajes síncronos: piezas, funcionamiento, diagrama, ventajas, aplicaciónEngranajes síncronos: piezas, funcionamiento, diagrama, ventajas, aplicación
Lubricación por salpicadura del engranaje síncrono
Varios puntos de lubricación del engranaje síncrono:
1. La caja de cambios siempre debe permanecer llena de lubricante. Los pasillos están parcialmente sumergidos. en el aceite lubricante
2. Lubrica el rodamiento de la caja de cambios.
3. El mecanismo de conmutación está lubricado con aceite de máquina/aceite de motor fino.

Ventajas de la transmisión síncrona:

1) No hay necesidad de embrague intermedio como en una transmisión de malla constante.
2) Engranaje suave de marchas superiores gracias al dispositivo de sincronización.
3) Menos ruido debido al uso de engranajes helicoidales.
4) Menos vibración.

Desventajas de la transmisión síncrona:

Desventajas de la transmisión síncrona:
1) La sincronización es un elemento finamente elaborado y, por tanto, caro.
2) El mantenimiento de engranajes y dispositivos síncronos es difícil.
3) Se requiere más espacio.
4) El uso de un dispositivo sincronizador para marchas lentas no es económico.

Aplicación de una transmisión síncrona.

  • Automóviles modernos, vehículos deportivos utilitarios, para marchas más altas en la transmisión.

Diferencia entre transmisión de malla constante y transmisión síncrona

No Señor.Engranaje de dientes constantesTransmisión síncrona
1.Hay que desconectarlo dos veces.No hay necesidad de un embrague intermedio como en una transmisión de malla constante.
2.El problema al engranar marchas más altas se debe a los dispositivos de engrane constante.Engranaje suave de marchas más altas gracias al dispositivo síncrono.
3.Es más ruidoso.Es menos ruidoso porque se utilizan engranajes helicoidales.
4.Tiene más vibración.Tiene menos vibración.

Comprobación de la unidad síncrona.

1. Verifique que todas las estrías del cubo sincronizador no tengan desgaste excesivo.
2. Compruebe que el encaje de los dientes de la garra en el manguito deslizante y el engranaje esté libre de virutas y rebabas.
3. Asegúrese de que los conos sincronizadores no estén excesivamente desgastados ni muestren signos de sobrecalentamiento.
4. Reemplace los resortes y las bolas de bloqueo si están desgastados.
5. Verifique que las superficies de contacto del sincronizador en los engranajes y las carcasas no estén desgastadas. Si las superficies de contacto quemadas son evidentes, se deben reemplazar los engranajes o los casquillos de cojinete.
6. Verifique que el chaflán del pasador de bloqueo no tenga desgaste excesivo y reemplácelo si es necesario.

Más recursos/artículos

Notas sobre piezas y sistemas en la construcción de automóviles, artículo.
Tendencias automotrices, artículos de noticias, notas.
Notas conceptuales mecánicas y subjetivamente básicas, artículos.

Mensajes recientes

Enlace al piñón y cremallera: cómo funciona, diseño, aplicación, ventajas

Caja de cambios de piñón y cremallera: cómo funciona, diseño, aplicación, ventajas

Un engranaje de piñón y cremallera es un sistema mecánico formado por una cremallera lineal y un piñón giratorio. Es muy utilizado en diversas industrias debido a su sencillez, eficiencia y versatilidad.

sigue leyendo

Enlace a fresadoras para madera: conceptos básicos, funciones, tipos, cómo funcionan, piezas

Fresado de madera: conceptos básicos, funciones, tipos, cómo funciona, piezas

Como ávido carpintero, he descubierto que la fresadora de madera es una de las herramientas más versátiles y esenciales de mi taller. Me permite crear diseños complejos, bordes suaves y precisos…

sigue leyendo

[automatic_youtube_gallery type=»search» search=»Engranajes síncronos: piezas, funcionamiento, diagrama, ventajas, aplicación

» limit=»1″]

Caja de cambios sincromesh: partes, funcionamiento, diagrama, ventajas y aplicaciones

La caja de cambios sincromesh es similar a la caja de cambios de engranaje constante en el sentido de que todos los engranajes en el eje principal están en contacto constante con los engranajes correspondientes en el eje secundario. Los engranajes en el eje secundario están fijos a él, mientras que los del eje principal pueden girar libremente en el mismo. Su funcionamiento también es similar al de la caja de cambios de engranaje constante, pero en la sincromesh hay una mejora definitiva sobre la primera. Esta es la provisión de un dispositivo de sincronización que evita la necesidad de hacer doble embrague. Las partes que finalmente se van a enganchar se llevan primero al contacto de fricción para igualar sus velocidades, después de lo cual se pueden enganchar suavemente.

Razón por la que se prefiere la caja de cambios sincromesh a la caja de cambios de engranaje constante:
1) No hay necesidad de hacer doble embrague como en el caso de la caja de cambios de engranaje constante.
2) Enganche suave de las marchas superiores debido al dispositivo de sincronización.
3) Menos ruido ya que se utilizan engranajes helicoidales.
4) Menos vibración.

La figura muestra la construcción y el funcionamiento de una caja de cambios sincromesh. En la mayoría de los automóviles, sin embargo, los dispositivos de sincronización no se ajustan a todos los engranajes, como se muestra en esta figura. Solo se ajustan a las marchas altas y a las marchas bajas y reversa se proporcionan embragues ordinarios de enganche rápido. Esto se hace para reducir el costo.

En la figura, A es el eje del motor y los engranajes B, C, D, E pueden girar libremente en el eje principal y siempre están en contacto con los engranajes correspondientes del eje secundario. Por lo tanto, todos los engranajes del eje principal y del eje secundario continúan girando mientras el eje A está girando. Los miembros F1 y F2 pueden deslizarse libremente en las estrías del eje principal. G1 y G2 son miembros de forma anular con dientes internos que encajan en los miembros de dientes externos F1 y F2 respectivamente. K1 y K2 son dientes de perro en B y D respectivamente y también encajan en los dientes de G1 y G2. S1 y S2 son los tenedores. T1 y T2 son las bolas soportadas por resortes. Estas tienden a evitar el deslizamiento de los miembros G1 (G2) sobre F1 (F2). Sin embargo, cuando la fuerza aplicada en G1 (G2) a través del tenedor S1 (S2) supera cierto valor, las bolas son superadas y el miembro G1 (G2) se desliza sobre F1 (F2). Por lo general, hay seis de estas bolas colocadas simétricamente en un dispositivo de sincronización. M1, M2, N1, N2, P1, P2, R1, R2 son las superficies de fricción.

El funcionamiento de la caja de cambios es el siguiente. Para la marcha directa, el miembro G1 y, por lo tanto, el miembro F1 (a través de las bolas con resorte) se desliza hacia la izquierda hasta que M1 y M2 se frotan y la fricción hace que su velocidad sea igual. Al empujar aún más el miembro G1 hacia la izquierda, se sobrepasan las bolas y se engancha con los dientes K1. Ahora la transmisión al eje principal es directa desde B a través de F1 y las estrías. Debemos dar suficiente tiempo para la sincronización de velocidades, de lo contrario, puede ocurrir un choque. Para la segunda marcha, los miembros F1 y G1 se deslizan hacia la derecha para que finalmente los dientes internos de G1 se enganchen con L1, luego la transmisión al eje principal será desde B a través de U1, U2, C, F1 y las estrías. Para la primera marcha, G2 y F2 se mueven hacia la derecha. En este caso, la transmisión será desde B a través de U1, U3, D, F2 y las estrías hasta el eje principal. Para la marcha atrás, G2 y F2 se deslizan hacia la derecha. En este caso, la transmisión será desde B a través de U1, U4, U5, D, F2 y las estrías hasta el eje principal.

Construcción de la caja de cambios sincromesh:
Consta de un eje del embrague, eje secundario, eje principal y dispositivos de sincronización. Los engranajes en el eje secundario están fijos mientras que los engranajes en el eje principal pueden girar libremente en el eje principal con respecto a la velocidad del eje secundario. En esto, se utiliza un dispositivo de sincronización entre dos engranajes del eje principal para igualar la velocidad por fricción, después de lo cual se pueden enganchar suavemente.

Funcionamiento de la caja de cambios sincromesh:
Para obtener una marcha baja, el miembro F2 se mueve hacia la izquierda, lo que provoca el contacto por fricción entre la superficie cónica del engranaje D y el miembro F2. La fricción o el roce iguala las velocidades y luego el miembro G2 se desplaza hacia la izquierda para engancharse con los dientes K2 y obtener una marcha baja. De manera similar, cuando el miembro F2 se desliza hacia la derecha, se entrelaza con el engranaje E y se obtiene una marcha atrás. De manera similar, para la segunda marcha, los miembros F1 y G1 se deslizan hacia la derecha para que finalmente los dientes internos de G1 se enganchen con L1, luego la transmisión al eje principal será desde el engranaje B – U1 – U2 – engranaje C – G1 – F1 a las estrías. Se obtiene una marcha directa deslizando el miembro F1 hacia la izquierda.

Ventajas de la caja de cambios sincromesh:
1) No hay necesidad de hacer doble embrague como en el caso de la caja de cambios de engranaje constante.
2) Enganche suave de las marchas superiores debido al dispositivo de sincronización.
3) Menos ruido ya que se utilizan engranajes helicoidales.
4) Menos vibración.

Desventajas de la caja de cambios sincromesh:
1) El sincromesh es un elemento finamente mecanizado y, por lo tanto, es costoso.
2) El servicio de los engranajes y el dispositivo de sincronización es difícil.
3) Se requiere más espacio.
4) El uso del dispositivo de sincronización para las marchas de baja velocidad es poco económico.

Aplicación de la caja de cambios sincromesh:
Automóviles modernos, vehículos utilitarios deportivos, para marchas superiores en la caja de cambios.

Diferencia entre la caja de cambios de engranaje constante y la caja de cambios sincromesh:
1) La caja de cambios de engranaje constante requiere doble embrague, mientras que en la caja de cambios sincromesh no es necesario.
2) La caja de cambios de engranaje constante tiene problemas en el enganche de las marchas superiores debido al dispositivo de engranaje constante, mientras que en la caja de cambios sincromesh el enganche de las marchas superiores es suave gracias al dispositivo de sincronización.
3) La caja de cambios de engranaje constante es más ruidosa, mientras que la sincromesh es menos ruidosa debido al uso de engranajes helicoidales.
4) La caja de cambios de engranaje constante produce más vibración, mientras que la sincromesh produce menos vibración.

Verificación de la unidad de sincronización:
1. Verificar que todas las estrías en el cubo de sincronización estén libres de desgaste excesivo.
2. Verificar que el engranaje deslizante y los dientes de perro estén libres de astillado y rebabas.
3. Verificar que los conos de sincronización no estén desgastados en exceso o muestren efectos de sobrecalentamiento.
4. Renovar los resortes y bolas de bloqueo, si están desgastados.
5. Verificar las superficies de contacto del sincronizador en los engranajes y las copas para detectar un desgaste excesivo; si se observan superficies de contacto quemadas, los engranajes o las copas deben renovarse.
6. Verificar el chaflán de la clavija de bloqueo para un desgaste excesivo. Renovar según sea necesario.

Referencias externas:
– [Learn Mechanical Engineering](https://learnmech.com/)
– [Rack and Pinion Gear – Working, Design, Application, Advantages](https://learnmech.com/rack-and-pinion-gear-working-design-application-advantages/)
– [Wood Routers – Basic, Functions, Types, Working, Parts](https://learnmech.com/wood-routers-basic-functions-types-working-parts/)

Deja un comentario